Schaukel "Knirps"
Mit dieser Schaukel, die den Vorgaben der Norm EN 1176 entspricht, können die Kleinsten unbeschwert schaukeln. Rhythmische Schwungbewegungen fördern die Balance des Körpers und unterstützen die Entwicklung des Muskel- und Nervensystems.
Eigenschaften:
- Konstruktion aus rostfreiem Stahl, feuerverzinkt und pulverbeschichtet oder aus pulverbeschichtetem und verzinktem Stahl mit einem Profil von 80 x 80 mm
- Farbenfrohe Elemente aus witterungsbeständiger HDPE-Platte
- Geprüfte, sichere Sitze
- Kalibrierte Ketten aus rostfreiem Stahl, die ein Einklemmen der Finger verhindern
- Schaukelbeschläge aus rostfreiem Stahl
- Schrauben aus rostfreiem Stahl und/oder Schrauben mit Kunststoffkappen
- Sichere Endkappen auf der Oberseite der Struktur aus Gummi oder Polypropylen
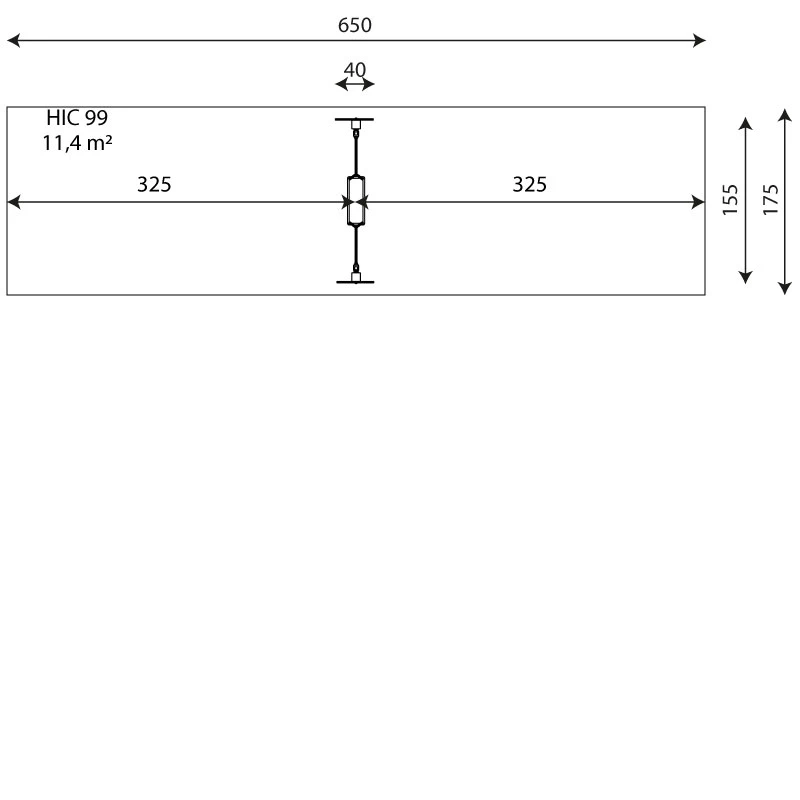
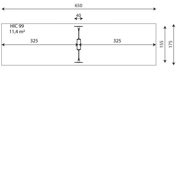
Technische Daten:
- Länge: 40 cm
- Breite: 155 cm
- Gesamthöhe: 180 cm
- Altersgruppe: 1 bis 3 Jahre bei Sitz R2
- Anzahl der Benutzer: 1 Kind
- Sicherheitsbereich: 11,4 m²
- Höhe des freien Falls: 99 cm
- Entsprechend der Norm EN 1176-1:2017+A1:2023
- Verfügbarkeit von Ersatzteilen: Ja
- Installationszeit: 1 h
Versandkosten: 95 € zzgl. MwSt.